Entre em Contato

Home Projetos
Produtos
  • Aduelas de Concreto
  • Tubos de Concreto
  • Barreiras New Jersey
  • Caixas de Passagem
  • Tubos Ovóides
  • Boca de Lobo
  • PV e PI
Empresa Contato Blog
Home Projetos Produtos Empresa Contato Blog

Aduelas de Concreto ACA

Soluções robustas para grandes vazões, travessias e obras estruturais.

As Aduelas de Concreto ACA são projetadas para atender demandas de alta capacidade hidráulica e grandes cargas, sendo a solução ideal para galerias, passagens de fauna, drenagem profunda, travessias rodoviárias e obras estruturais e caixas de retardo.

Verificado Conforme ABNT NBR 15396

Onde as Aduelas ACA se destacam?

Com fabricação industrial de precisão e histórico consolidado de fornecimento para grandes empreendimentos, a ACA garante desempenho estrutural, durabilidade e montagem ágil em campo.

1.

Travessias sob rodovias, ferrovias e acessos

2.

Drenagem de grandes volumes e canalizações

3.

Passagens de pedestres e fauna

4.

Pontilhões e contenções

5.

Caixas de retardo e retenção de águas

6.

Solução substitutiva ao concreto moldado in loco

Especificações Técnicas

Norma
ABNT NBR 15396 – Aduelas de Concreto Armado para Drenagem Pluvial
Diâmetros Disponíveis (DN)
Retangulares | Quadradas | Seção aberta (Perfil U) | Perfil L | Personalizadas conforme projeto (sob consulta)
Alturas e Largura Padrão
Larguras: 1,0 m a 6,0 m | Alturas: 1,0 m a 6,0 m | Comprimento padrão: 1,0 m
Espessuras de parede
0,15 m | 0,18 m | 0,20 m | 0,25 m | 0,30 m | 0,35 m
Tipos de Junta
Macho e Fêmea
Classes de Resistência
Projetadas conforme solicitações específicas de carga, profundidade, tráfego e condição geotécnica. Cálculo estrutural individualizado quando necessário.

Por que escolher as Aduelas ACA?

Ícone

Estrutura superior para grandes cargas

Armaduras projetadas para resistir ao peso de aterros, tráfego pesado (rodoviário, ferroviário e aeroviário) e suportar as mais rigorosas exigências.

Ícone

Montagem rápida e segura

Peças industrializadas reduzem execução em obra, minimizam interferências e agilizam cronogramas.

Ícone

Dimensões personalizáveis

Produção sob medida para atender projetos especiais com requisitos hidráulicos ou estruturais específicos.

Ícone

Acabamento e tolerâncias de alta precisão

O controle de fabricação garante encaixes perfeitos, maior estanqueidade e menor necessidade de ajustes no campo.

Ícone

Durabilidade comprovada

Concreto de alta performance, resistência elevada e vida útil prolongada mesmo em ambientes agressivos.

Diferenciais ACA Tubos

Engenharia própria para apoio técnico e dimensionamento

Ensaios laboratoriais que asseguram conformidade às normas

Logística que suporta entregas de grandes volumes

Experiência de mais de 51 anos em soluções de infraestrutura pesada

Credibilidade em obras públicas, rodoviárias, industriais e concessões

Localização

Santa Isabel, SP - 07500-000

Rodovia Presidente Dutra, km 194,5

Documentação Técnica

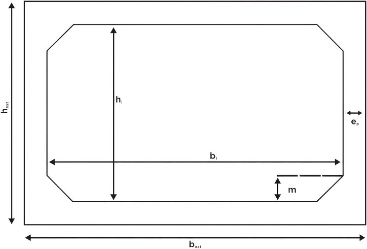
Aduela de seção transversal fechada
Aduela de seção transversal aberta
Largura (bi) Altura (hi) Largura (bi) Altura (hi)
1,00 1,00 - -
1,50 1,00 1,00 1,50
2,0 1,00 1,00 2,00
2,50 1,00 1,00 2,00
3,00 1,00 1,00 3,00
3,50 1,00 1,00 3,00
4,00 1,00 1,00 4,00
1,50 1,50 - -
2,00 1,50 - -
2,50 1,50 1,50 2,50
3,00 1,50 1,50 3,0
3,50 1,50 1,50 3,50
4,00 1,50 1,50 4,00
2,00 2,00 - -
2,50 2,00 2,00 2,50
3,00 2,00 2,00 3,00
3,50 2,00 2,00 3,50
4,00 2,00 2,00 4,00
2,50 2,50 - -
3,00 2,50 2,50 3,00
3,50 2,50 2,50 3,50
4,00 2,50 2,50 4,00
3,00 3,00 - -
3,50 3,00 3,00 3,50
4,00 3,00 3,00 4,00
3,50 3,50 - -
4,00 3,50 3,50 4,00
4,00 4,00 - -

Dimensões em metros.

Quer aprofundar seu conhecimento antes de escolher a solução ideal?

Quer entender como escolher entre tubos, aduelas ou galerias? Acesse nossos<br> conteúdos técnicos para comparar soluções e tomar decisões embasadas desde o pré-projeto.

Barreiras New Jersey pré-moldadas: soluções móveis para desvio e organização do tráfego

Barreiras New Jersey pré-moldadas: soluções móveis para desvio e organização do tráfego

outubro 03, 2025
Controle de recalques diferenciais em redes de tubos de concreto: métodos de monitoramento e mitigação

Controle de recalques diferenciais em redes de tubos de concreto: métodos de monitoramento e mitigação

outubro 01, 2025
Otimização de juntas em aduelas e tubos: soluções para estanqueidade e desempenho hidráulico

Otimização de juntas em aduelas e tubos: soluções para estanqueidade e desempenho hidráulico

outubro 01, 2025
ACA Tubos reforça seu compromisso com a equidade ao divulgar o Relatório de Transparência Salarial

ACA Tubos reforça seu compromisso com a equidade ao divulgar o Relatório de Transparência Salarial

outubro 01, 2025

Construa com Aca Tubos

Pré-fabricados de concreto, como tubos (águas pluviais, esgoto e ovóides), aduelas (galerias celulares) e poços de visita e inspeção.

Nossos Produtos

Aduelas de Concreto Tubos de Concreto Barreiras New Jersey Caixas de Passagem Tubos Ovóides Boca de Lobo PV e PI

Escritório em São Paulo

Rodovia Presidente Dutra, km
194,5, Santa Isabel - SP, 07500-000

(11) 4654-1188

ACA INDUSTRIA, COMERCIO E CONSTRUCAO LTDA
44.338.978/0001-33

© 2025 ACA Tubos. Todos os Direitos Reservados.

Termos e Condições

|

Política de Privacidade